首页观点新闻特写视频

在不同平台获取最新新闻

wechattiktokfacebookyoutubetelegram

终于轮到中国说别人侵权?网红大白兔冰淇淋被调查是否侵权

(Instagram:wanderlustcreamery)
(Instagram:wanderlustcreamery)

风水轮流转?

不少人的童年回忆——“大白兔奶糖”似乎干了件大事。中国常被贴上“爱抄袭”,“不注重知识产权”的标签,这次有可能为此骂名扳回一城的居然是大白兔奶糖。

美国洛杉矶一家冰淇淋商家推出了一款大白兔冰淇淋,推出后复古怀旧的包装和浓郁的奶香味让它迅速成为了网红,店外大排长龙。可这来自中国上海冠生园的品牌表示这款冰淇淋并不是由冠生园授权在美国销售生产的产品,也未与相关方面展开过合作。

 号称一球里面有1.3个大白兔奶糖的量的冰淇淋。(Instagram:wanderlustcreamery)
号称一球里面有1.3个大白兔奶糖的量的冰淇淋。(Instagram:wanderlustcreamery)

不少中国网民自己都难以相信这次不是中国抄别人,而是为数不多的被抄袭,也算是“扬眉吐气”了一回。

洛杉矶大白兔冰淇淋被疯狂抢购

本着想勾起一代美国华人童年回忆的概念,美国洛杉矶冰淇淋商家 Wanderlust Creamery 与 Foodbeast 在农历新年期间推出了大白兔奶糖冰淇淋。这款冰淇淋推出后迅速走红,店门口起了长龙,本来是只在二月期间有售的限定产品因为实在供不应求,只好延迟到三月。

 店家表示这款冰淇淋灵感来源于农历新年,奶香浓郁。(互联网)
店家表示这款冰淇淋灵感来源于农历新年,奶香浓郁。(互联网)

Foodbeast 网站在介绍这款大白兔冰淇淋时表示, Wanderlust Creamery 最受欢迎的冰淇淋口味在夏天高峰期售卖了超过40加仑(约151公斤),但大白兔奶糖这二月份的大冬天,一天半就售卖了39加仑(约147公斤)。大白兔冰淇淋号称用真材实料的大白兔奶糖作为原材料制成,据Wanderlust Creamery 的一位联合创始人 Jon-Patrick Lopez 称,在每一勺冰淇淋中,大约含有1.3颗大白兔奶糖。

怪不得负责人表示现在连买大白兔奶糖都有困难, Wanderlust Creamery 扫光了各大零售商 ,开车找遍整个洛杉矶,终于在旧金山找到了可供应大白兔奶糖的供应商。

怪不得不少中国网友表示不怕各种中美贸易战了,靠大白兔就能征服美国。

中国网友变身柠檬精:我们自己怎么吃不到!

中国网友表示心里很酸:阿拉自己都吃不到,凭什么侬可以!

大白兔奶糖的前身源自1943年的“爱皮西糖果厂”,当年老板冯伯镛吃到了来自英国的进口牛奶糖之后,让工人研制出味道相仿的奶糖,食品师傅还真做出来了,1956年中国开始一股国有化浪潮,爱皮西糖果厂归为国有,成为“爱民糖果厂”,换上一身洁白的包装,用一只活泼可爱的大白兔作为包装,后来并入现在的冠生园食品集团,也就是现在的大白兔奶糖出品商。这只兔子是好几代中国人的童年回忆,当年甚至被周恩来赠与美国总统尼克松。

 (互联网)
(互联网)

就在大批网友被馋的同时,Wanderlust Creamery 可能面临侵权问题。冠生园表示这款冰淇淋并不是由冠生园授权在美国销售生产的产品,也未与相关方面展开过合作。目前,冠生园正在通过第三方商标代理机构来查询,看是否存在侵权行为。

“国籍一换,评论过万”的侵权事件?

这款冰淇淋可能侵权引起了中国网民的关注,被称为为数不多的被侵权而非侵权他人事件。

 有网民表示“美国整天说中国产品侵犯它们的知识产权”,这次属于“乌鸦笑猪黑”。
有网民表示“美国整天说中国产品侵犯它们的知识产权”,这次属于“乌鸦笑猪黑”。

中国常被人说是抄袭大国,而这次终于不是抄袭而是被抄袭,仿佛给了不少网民一种“扬眉吐气”的感觉。

有网友形容这种现象为:“国籍一换,评论过万”,言下之意是抄袭及侵权事件中“被害”国家一旦换成中国,各种批评的声音瞬间会上万,而“被害”如果是其他国家可就不一定了。也有人不能够同意部分网友这样的反应,表示侵权问题该就事论事,别从中找自信。

这位网友仿佛在说绕口令,他的意思就是就算美国对中国有侵权行为,也依然无法磨灭中国曾对美国有过的侵权行为。

说起狭隘,网友们更不服气了,表示别人可以说我们,我们不能说他们吗?

又像在说绕口令,这位网友的意思是即使中国对美国有过侵犯行为,中国依然有权利对美国侵犯中国表示不满,提出控诉。 这冰淇淋商家还没确定侵权呢,网民们就已经操碎了心。

叫“大白免”,“太白兔”,“大日兔”呀

你在想“大白免”,“太白兔”,“大日兔”这些是什么鬼?这些是网民们的经验之谈,教冰淇淋商如何不侵权。

 这位网友很懂哦。
这位网友很懂哦。

深受山寨荼毒的中国网民早就看清了这一切套路。但你以为你能想到,大白兔就想不到吗?为了避免有和这些网民一样机智想法的不良商家做山寨产品,国家工商管理总局商标局系统显示大白兔早在1988年前后就把这些你能想到的山寨名注册了个遍......

其中包括大花兔,大黑兔,大红兔,小白兔等......不得不说大白兔真的很谨慎。

实在忍不住和各位蚁粉分享,这么做的还有我们熟悉的阿里巴巴,除了很谨慎地注册了阿里爸爸,还给爸爸安排了一家人团聚:

里面包括阿里姐姐妹妹姑姑叔叔哥哥弟弟伯伯等一个都不少,很贴心。

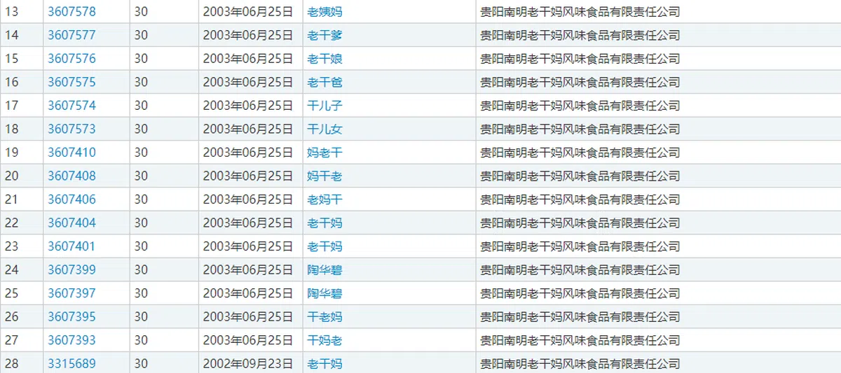
老干妈也是重灾区之一,2002年老干妈给自己注册了“老干妈”之后也非常谨慎地相继注册了“干儿子”,“干儿女”等亲戚关系就算了,甚至还有“老妈干”,“干妈老”,“妈干老”等一系列名称。

看来各大品牌真的被抄怕了,先下手为强,给有可能成为山寨商标的每个名字都注册了一轮。

回到大白兔有可能被侵权这件事,除了斥责侵权的,希望国产老字号能够更加创新的,就是只想着吃的了。   大白兔口味的冰淇淋其实并不非常创新啦,在美国这个冰淇淋商家走红前,马来西亚,香港等地也有售。如果你也只想尝尝味道,新加坡也有售哦(没有使用大白兔包装或商标),早在去年11月就推出啦,吃大白兔长大的蚁粉可以去尝尝怀旧的味道。

 (Facebook: Sunday Folks)不少人心爱的米纸也被作为装饰摆在了冰淇淋里。
(Facebook: Sunday Folks)不少人心爱的米纸也被作为装饰摆在了冰淇淋里。

请勿错过我们的更新内容与资讯。
加入我们吧!

tiktokfacebookyoutubewechattelegram

想分享你的文章?

请电邮: antseditorial@redants.sg

Red Anthill Ventures Pte. Ltd. 版权所有